抹平机操作手册
一、安全事项
1. 机器的特点和用途
此机器是一台手扶式的水泥抹平机,由一台发动机及安装框架,一个齿轮箱,一个保护罩和操作手柄等部件组成。
此机器用于抹平和抛光混凝土表面。
2. 作业安全须知
① 只有经过系统培训人员才允许启动、操作和关闭机器。其理解操作手册,知道如何正确使用机器,熟悉所有操作的部件。
② 在试图操作机器前,要阅读、理解并且按照用户操作手册里的步骤操作。
③ 不允许未成年,喝酒或服用药物的人操作机器。
④ 禁止未经许可擅自操作机器。
⑤ 禁止在皮带罩丢失的情况下操作机器,驱动皮带和滑轮会有潜在的危险,可能会导致严重的伤害。
⑥ 禁止没有通过系统培训的人员操作机器,人员在操作机器前需熟悉各种风险和危害。
⑦ 操作机器的时候,不要使用未经批准的附件和附属设备。
⑧ 操作的时候,不允许任何人站立或者倚靠在机器上。
⑨ 请不要在室内或者相对密闭的环境下使用机器,除非有良好的通风条件。发动机的排气中含有一氧化碳,无色无味,但是可以在几分钟内导致你丧失意识甚至死亡。
⑩ 在运行和关机后的数分钟内,不要触摸发动机和消声器,这些部位温度非常高,会导致烫伤。
? 要始终保持紧急停机开关可以使用并且性能良好,如果此开关不能正常工作的时候,请不要使用机器。失去控制的机器会导致严重人身伤害,而且还会破坏混凝土的表面。紧急停机系统会在机器失去控制时候自动关停机器。
? 在启动机器前,要保证安全开关在开的位置 (推杆在前面的位置) ,在启动机器时,要保持一只手在手柄的位置,抓住机器把手,并且在操作的过程中不要松开。
? 在施工现场操作机器的时候需要着防护服,防护眼镜,保护耳机,以及安全防护鞋。
? 机器停止工作时,要关紧发动机上的燃油阀。
? 不使用时,将机器存放在一个合适的地方,存放的地点需要清洁干燥,远离儿童。
3. 使用内燃机的作业安全
① 在加油或者进行其他有关燃油操作的时候不要抽烟。
② 在有火花和明火的环境下不要启动发动机。
③ 在燃油溢出或者燃油气味明显的时候不要启动机器。把机器移出溢油位置,并且把机器擦擦拭干净然后启动。
④ 不要在发动机运行或者高温的情况下加油。
⑤ 不要在有火花或者明火的环境下加油。
⑥ 加油的时候不要使燃油溢出。
⑦ 在运行和关机后的数分钟内,不要触摸发动机和消声器,这些部位温度非常高,会导致烫伤。
⑧ 如果加油的时候有燃油溢出,需要擦拭干净,并且把抹布丢弃在一个安全的地方。在燃油或者机油泄露的时候不要操作机器。
⑨ 禁止在易燃易爆的环境下操作机器。
⑩ 禁止在通风条件不良或者密闭的空间里操作机器。
? 禁止在运输过程中执行其他操作。工作前,停止发动机,并且把火花塞的线断开,防止意外启动。
? 避免长时间呼吸废气,你可能受到有害气体伤害。
? 在发动机冷却之后执行维修或维护服务。
? 维护及修理时处理燃料需要使用安全的容器。
? 禁止在消声器周围放置树叶,纸张,纸盒等杂物,消声器的高温可以引燃这些物体。
4. 维修安全
① 在使用和维护之前仔细的阅读随机的使用说明书。
② 在维护保养之前熟悉所有控制和安全部件的位置和功能。
③ 如果需要的话可以联系当地的经销商获得更多机器常识。
④ 不要让没有经过培训的人员维修和保养机器,人员维修或维护机器必须熟悉相关的潜在风险和危害。
⑤ 在机器运行的时候不要尝试清洁和检修机器。旋转的部件可能会造成伤害。
⑥ 在机器悬挂的时候不要移动刀片。
⑦ 在维修时,需要断开电源,停止机器运转,防止意外启动。
⑧ 当机器需要更换零部件的时候,仅可以使用原厂配件或者规格一致的部件,如尺寸,类型,强度和材料等。
二、操 作
1. 首次使用前的准备工作
确定包装材料已经从机器上移除。
检查机器及其组件是否损坏,如果有可见的损坏,不要操作机器!联系经销商立即寻求帮助。
盘点所有物品,包括机器,松散的组件和紧固件。
添加所需的液体,包括汽油,机油等。
2. 主要控制部件

3. 安装刀片圆盘
抹平机有3种类型的刀片可以选择。
圆盘是最大款式的提浆产品,安装在精抹或者组合刀片的下面,用于早期的工作,不能倾斜。
精抹刀片用于最后的工作,逐渐的倾斜可以提高磨光水泥效果。
组合刀片是一种多用途刀片、也可以用于提浆、也可用于最终磨光。
注:不要把大尺寸的刀片使用在小尺寸直径的抹平机上,会照成严重身体伤害。
精抹刀片2个边缘都是平等的,使用磨损了一边以后,可以调头安装继续使用。
安装组合刀片的时候,按如下方向安装。刀片的翘边正确安装在机器顺时针朝外方向。
用螺栓(下图01位)将刀片固定在刀杆上,安装前需润滑螺栓的螺纹,这样可以防止混凝土胶结到螺丝连接处,并且使刀片去除更容易。
警告
在安装圆盘的时候不要吊起抹平机,圆盘会掉落下来,使周围的人受伤。

4. 启动之前
在启动机器前,检查如下事项:
所有的手柄没有油污
所有的空置杆在空挡的位置
所有的螺栓结合紧固
燃油位
发动机的机油位
齿轮箱的油位
检查空气滤芯使用情况显示
环形防护罩的情况
手柄和刀片的情况
注意 在启动前检查发动机和机器的机油位,避免机器运行的时候没有机油。(无机
油运转会严重损坏发动机)
5. 手柄安装和调节
打开纸箱寻找出手柄的组件并且组装好,检查并确保没有在装运的时候损坏零部件。把手柄总成安装在齿轮箱上,使用随机配备的螺母及扳手拧紧。
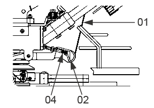
将调节刀片角度的钢丝绳(右图01位)从手柄管子凹槽部完全拉出,并且松开上面的螺母穿进拨叉槽孔内,拧上锁紧螺母(右图02位)。拧动调节手轮(右图03位)保持钢丝绳的适度松弛(手轮转动一圈左右)拨叉在无负荷状态(右图04位)而且刀片处于水平(0℃倾斜)。
把油门开关向前推到底是怠速位置。取下空气滤芯器,从压板(右图06位)下面穿过油门线管并锁紧压板(右图06位),压住油门线套管,拉出油门钢丝连接到发动机油门支架上(右图07位)锁紧螺栓(右图08位),要保持油门开关自然回位。重新安装上空气滤的盖子。
手柄上有个可调节手柄高低的螺栓,松开螺母(下图05位)然后根据操作者适合的高度向上或者向下调节,最后旋紧旋钮加以固定。


6. 安全停机开关
这个开关的切换应该比较简单,并一直保持在这个状态。开关在关闭位置时,发动机不能启动或运行。这个开关的目的是机器失控的状态下可以紧急停止发动机运行(比如操作员在操作过程中放掉手柄)。
7. 开 机
在开机前必须了解所有控制部件的位置和功能。保证安全停机开关在“ON(开)”的位置。如果不是在那个位置,在尝试启动发动机前把推杆推到“ON(开)”的位置。
打开油箱下面的燃油阀(见右图02位)
注意 如果发动机是冷却,关上风门;如果发动机是热的,则打开风门。在冷机启动时把风门往后拉(关),预热完成后向前推(开),拉动油门机器开始工作。(见右图01位)

把发动机开关转到“ON(开)”的位置。
把油门控制开关推向前怠速状态。
拉动启动拉绳。
警告 千万不要在启动发动机的时候把脚放在环形护罩上,如果脚滑到里面,当刀片旋转的时候会造成严重的伤害事故。
发动机预热后打开阻风门。(如果长时间不开风门运转发动机,会照成发动机严重损坏)。
拉动油门控制开关操作抹平机,调节油门开关使刀片至合适的转速。(0~150)
8. 停 机
将油门控制开关调到怠速位置以减慢发动机的转速至怠速。安全停机开关向后推到关的位置,
然后关闭发动机开关至“OFF(关)”的位置。9. 刀片倾斜角度调整
用倾斜角度调整旋钮调节刀片倾斜角度,顺时针方向旋转增大刀片倾斜角度,逆时针方向旋转减少刀片倾斜角度。
10. 抹平操作
把刀片安装在抹平机的力臂上,当水泥凝固到可以充分的支撑抹平机的重量时,把机器放在水泥上。按照前面所介绍的选用合适的刀片和圆盘并且启动机器。使用圆盘提浆效果最佳,刀片磨光时调整手轮来调整刀片倾斜角度,保证足够的张力使混凝土抹平,保持调整刀片角度适中以免机器抖动或者颤动。
如果机器颤抖工作会使水泥表面出现波浪和不平衡印记,需要调整最佳刀片角度和机器转速,混凝土干湿的平衡点才能做出完美地面。
11. 精整操作
经过专业设备平整以后,直至水泥可以承受抹平机的重量。调整刀片的倾斜角度,从“1/4”到“3/8”。如果刀片开始带出水泥,则减少倾斜角度。
三、零配件组合
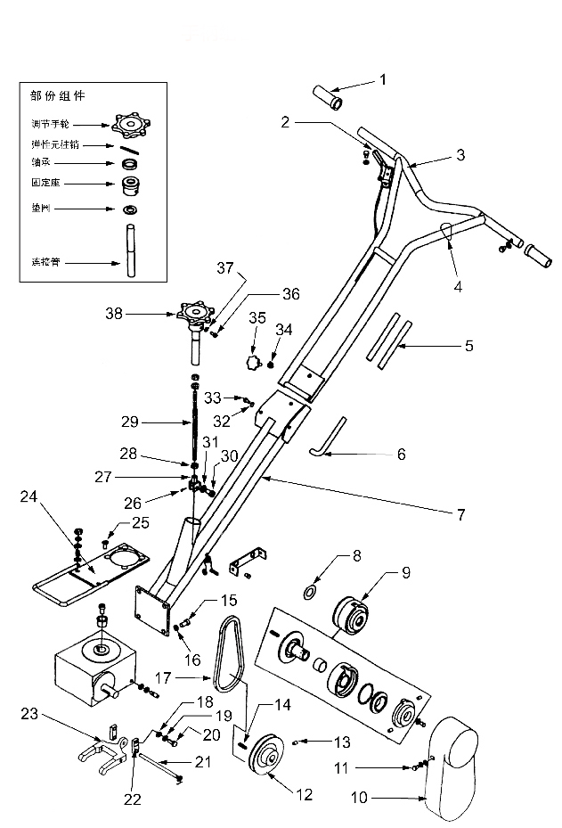
手柄组合(Y446、Y442、Y436、Y430)

序号
名称
数量
1
扶手连接板
1
2
滑轮支架
1
3
滑轮
1
4
滑轮轴?10×30
1
5
调节钢丝绳
1
6
外六角螺栓M12×65
2
7
锁紧螺母M10
2
8
抬杆
1
9
内六角螺栓M6×8
2
10
安全开关总成
1
11
固定螺栓M6×12
1
12
油门开关总成
1
13
扶手体
1
14
弹性元柱销5×30
1
15
调节钢丝主体
1
16
平垫片?4
1
17
调节钢丝固定座
1
18
平面轴承51103
1
19
调节钢丝螺杆M18
1
20
弹性元柱销5×40
1
21
调节钢丝手轮
1
22
可调手柄主体
1
23
不锈钢螺帽M12
1
24
塞头
2
25
不锈钢外六角螺栓M12×130
1
|
序号 |
名称 |
数量 |
|
1 |
橡胶套 |
2 |
|
2 |
油门开关 |
1 |
|
3 |
扶手 |
1 |
|
4 |
熄火开关 |
1 |
|
5 |
塑料管 |
2 |
|
6 |
斜面螺母 |
1 |
|
7 |
下连接杆 |
1 |
|
8 |
补偿垫圈 |
1 |
|
9 |
离合器 |
1 |
|
10 |
皮带罩壳 |
1 |
|
11 |
自攻螺丝 |
4 |
|
12 |
皮带轮 |
1 |
|
13 |
螺钉 |
1 |
|
14 |
键 |
1 |
|
15 |
六角螺栓 |
4 |
|
16 |
垫圈 |
4 |
|
17 |
皮带 |
1 |
|
18 |
平垫 |
1 |
|
19 |
弹垫 |
1 |
|
20 |
六角螺栓 |
1 |
|
21 |
肖子 |
1 |
|
22 |
拨叉接脚 |
2 |
|
23 |
拨叉 |
1 |
|
24 |
发动机座 |
1 |
|
25 |
沉头内六角螺栓 |
4 |
|
26 |
开口肖 |
1 |
|
27 |
连接叉 |
1 |